优势特点:THK交叉滚柱单元系列优点:由于在经高精度加工的工作台和基座之间装入了交叉滚柱导轨,本产品只需用螺栓安装,就可获得高精度的直线导向机构。

交叉滚柱单元是在高精度加工的工作台与基座之间,装入了交叉滚柱导轨,是高精度、小型、高刚性的有限直线运动单元。
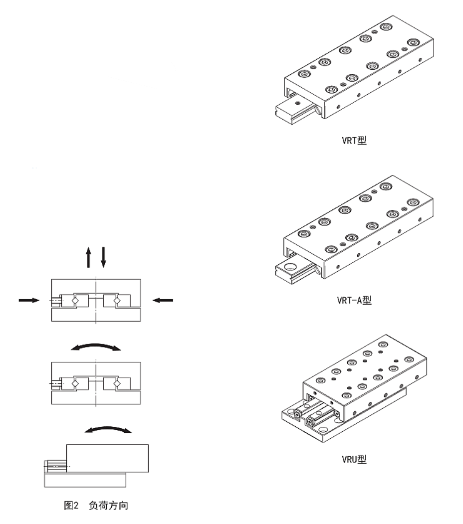
交叉滚柱单元有VRU型和微型的VRT型两种型号,被广泛应用于办公设备及其外部设备、各种测量仪、印刷基板钻孔机等精密机器的滑座部分。
【安装简便】
由于在经高精度加工的工作台和基座之间装入了交叉滚柱导轨,本产品只需用螺栓安装,就可获得高精度的直线导向机构。
【容许载荷大】
因额定载荷大的滚柱按很短的节距被组装在一起,从而构成了能承受重负荷且高刚性的直线导向机构,能获得长工作寿命。
【多种多样的使用方法】
由于滚柱被互相垂直地排列,所以系统能均匀地承受作用在工作台上的4个方向的负荷(参照图2 )。

【高耐腐蚀性】
VRT-M、VRT-AM型的基座及工作台使用不锈钢材料。此外,轨道、滚柱和滚柱保持器以及螺钉类等也全部使用不锈钢材料,因此具备充分的耐腐蚀性。另外,VRU-M型的基座及工作台使用的是铝材料。




【使用】
(1) 各部分拆卸后可能导致异物的进入或者对各部分的组装精度造成不利影响,请勿自行拆卸。
(2) 交叉滚柱单元落下或受敲击可能会造成破损,请加以注意。此外,如果受到外力撞击,则即使外观看不出破损也可能造成功能的损失,请加以注意。
【润滑】
(1) 交叉滚柱单元的润滑,和普通轴承一样适量使用锂皂基润滑脂或润滑油。
(2) 请仔细擦拭防锈油并封入润滑剂后再使用。
(3) 请避免将性状不同的润滑剂混合在一起使用。
(4) 在经常产生振动的场所、无尘室、真空、低温或高温等特殊环境下使用时,有可能无法使用通常的润滑剂,详细情况请向THK咨询。
(5) 要使用特殊的润滑剂时,请事先向THK咨询。
【保持架的偏离】
尽管保持滚柱的保持架能及其精确地动作,但由于机械的驱动振动、惯性力和冲击等的影响,保持架有时会产生偏离。
如果在以下情况下使用时,请向THK咨询。
● 垂直使用时
● 气压缸驱动时
● 凸轮驱动时
● 高速曲柄驱动时
● 在大力矩负荷作用下
● 用工作台对接导轨的外部挡板时
【使用注意事项】
(1) 异物进入系统后可能引起钢球循环部件的破损或者功能的损失,所以请防止灰尘、切削屑等的进入。
(2) 垃圾、锯粉等异物附着时,请在清洗后重新封入润滑剂。
(3) 要超过100℃使用时,请向THK咨询。
(4) 要在经常产生振动的场所、无尘室、真空、低温或高温等特殊环境下使用时,请向THK咨询。
(5) 请勿将内部防止工作台脱离的制动功能用作机械制动。冲击可能造成制动器损坏。
【储存】
储存交叉滚柱单元时,请将其装入THK指定的封套中储存以避免高温、低温和高度潮湿的环境。
VRT1025 VRT1035 VRT1045 VRT1055 VRT1065 VRT1075 VRT1085 VRT2035 VRT2050 VRT2065 VRT2080 VRT2095 VRT2110 VRT2125 VRT3055 VRT3080 VRT3105 VRT3130 VRT3155 VRT3180 VRT3205
VRT1025A VRT1035A VRT1045A VRT1055A VRT1065A VRT1075A VRT1085A VRT2035A VRT2050A VRT2065A VRT2080A VRT2095A VRT2110A VRT2125A VRT3055A VRT3080A VRT3105A VRT3130 VRT3155A VRT3180A VRT3205A
VRU1025 VRU1035 VRU1045 VRU1055 VRU1065 VRU1075 VRU1085 VRU2035 VRU2050 VRU2065 VRU2080 VRU2095 VRU2110 VRU2125
VRU3055 VRU3080 VRU3105 VRU3130 VRU3155 VRU3180 VRU3205 VRU4085 VRU4125 VRU4165 VRU4205 VRU4245 VRU4285
VRU6110 VRU6160 VRU6210 VRU6260 VRU6310 VRU6360 VRU6410 VRU9210 VRU9310 VRU9410 VRU9510 VRU9610 VRU9710 VRU9810 VRU9910 VRU91010